正度16开:186X260
正度32开:130X186
以上为成品尺寸,设计尺寸就在此基础上四边各加3mm出血就ok 。

文章插图
文章插图
5、24开的书有多大?24开尺寸书本实际纸张大小为182乘196毫米 ,可印刷范围是180乘195毫米 。
开本按照尺寸的大?。?通常分三种类型:大型开本、中型开本和小型开本,分别适用于性质和用途不同的各类书籍 。常用尺寸有:
A3:297毫米乘420毫米;
A4:210毫米乘297毫米;
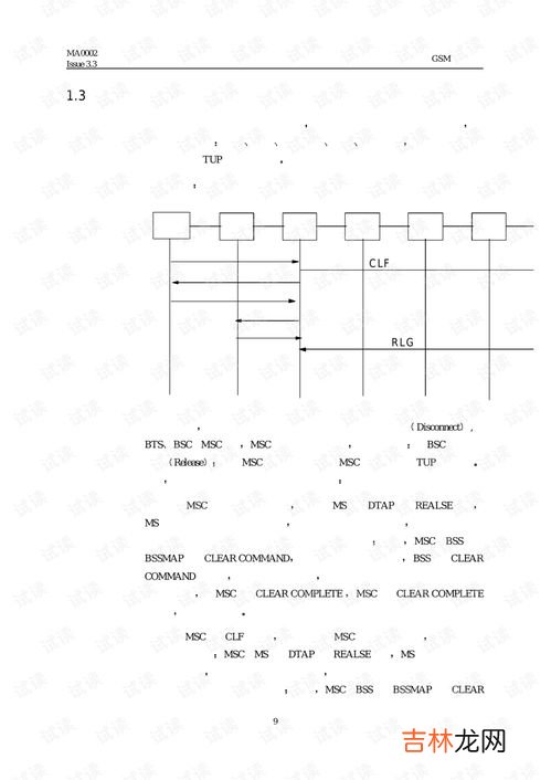
B4:257毫米乘364毫米;
B5:182毫米乘257毫米;
8K:368毫米乘260毫米;
16K:260毫米乘184毫米 。
【24开多大尺寸,纸的大小:全开、4开、8开、16开、32开,多大?】在印刷厂里全开纸就是一大张纸一般被分为两类:大度和正度,就是常见的A类和B类 , 就是我们在打印东西是常听到的A4、B5之类的 。你说的若为A24,其尺寸大小为190×210 单位为毫米,若为B24,其大小为:170×180 具体哪些书,我说不上来,我周围都是16K、32K或是更小的 。你可以去书店看下,每本书都应该有说明的 。希望我的回答对你有帮助 。祝你开心!
经验总结扩展阅读
- 未开封的淡奶油过期了,没开封的淡奶油过期了没开封的淡奶油过期了一直放冰箱里冷藏还能用吗
- 反复烧开的水能喝吗,电水壶里面反复烧开的水,可以喝吗?
- 三星Galaxy Note4的屏幕尺寸是多少?分辨率是多少?
- 索尼HX750可视图像对角线尺寸是多少
- 小米11和平精英自动连招怎么设置-如何开启自动连招
- 魅蓝2的屏幕尺寸是多少?魅蓝2的分辨率是多少?
- 华为畅享5的屏幕尺寸是多少?分辨率是多少?
- 索尼HX750外包装箱尺寸是多少
- 打开AppStore一片空白怎么办 打开AppStore空白解决方法【详解】
- win10开机启动项怎么设置,win10增加开机启动项怎么设置

 
   
   
   
   
   
   
   
  