?网上申办:申请人登录广东省政务服务网(http://www.gdzwfw.gov.cn/)
1、输入“入户” , 点击“搜索”;

文章插图
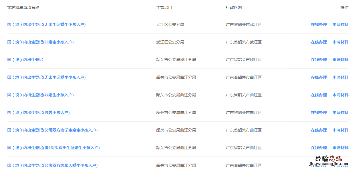
2、切换到对应城市“韶关”,在“户口登记”栏 , 选择“出生登记”;

文章插图
3、选择好区域点击“在线办理”;

文章插图
4、登录“广东省统一身份认证平台”;

文章插图
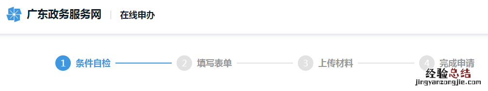
5、登录成功后完成“条件自检”、“填写表单”、“上传材料”即可完成申请 。

文章插图
?需要材料:
?。?)申请书;
?。?)《出生医学证明》原件及复印件;
【怎么在网上办理韶关新生儿入户 荔湾区新生儿入户在哪里办理】 ?。?)父母的《户口簿》、《居民身份证》、《结婚证》的原件及复印件;
?。?)国外出生的另需提交婴儿本人回国使用的护照或《中华人民共和国旅行证》、国外出生子女的出生证明及翻译件、市级出入境管理部门出具的《办理户口通知》 。
