品牌|新锐说 | 概念还是产品?LAN蘭能否说得清( 二 )
LAN蘭的水感卸妆油和臻米糯感卸妆油选择了一种天然来源的合成酯椰油醇-辛酸酯/癸酸酯 , 搭配多款聚甘油类乳化剂 , 并配合多种植物油脂作为基底油 , 运用假丝酵母发酵油技术 , 提升油脂性能 。

文章图片
今年LAN蘭糯感洁颜油和天然水感卸妆油加入老爸抽检计划 。 针对使用时会产生的问题 , 老爸评测列出多个检测项目 , 此次26种全部检测 , 包括业内不检测的易致敏香精 。 并组织了专家团队对LAN蘭工厂进行审厂 , 为了搞清楚产品原料中的溶剂残留和风险物质情况 , 老爸评测审核所有原料的COA和内控指标 。 经检测 , 两款产品香精、重金属、微生物、甲醛、邻苯二甲酸酯等检测报告都是合格 。
从LAN蘭另一品类精华液来看 , 以时光凝萃油为例 , 时光油添加了以仙人掌籽油、海檀木籽油、猴面包树籽油为主的植物油 , 配合角鲨烷、白池花籽油为基底油 。
可以见得 , LAN 蘭主推的卸妆油及精华油95%以上成分源自天然植物 , 符合国际安全等级EWG 0-2等级 , 符合可持续环保的品牌理念 , 在保证安全的同时也满足了消费者对于功效上的一些追求 。

文章图片
除了在成分上进行设计 , 在包材上LAN蘭也进行了创新 。 目前LAN蘭的所有产品都只做私模 , 且采用“HOME键”的包装设计 , 同时“单手按压”的一键开启模式也是其独特设计 。
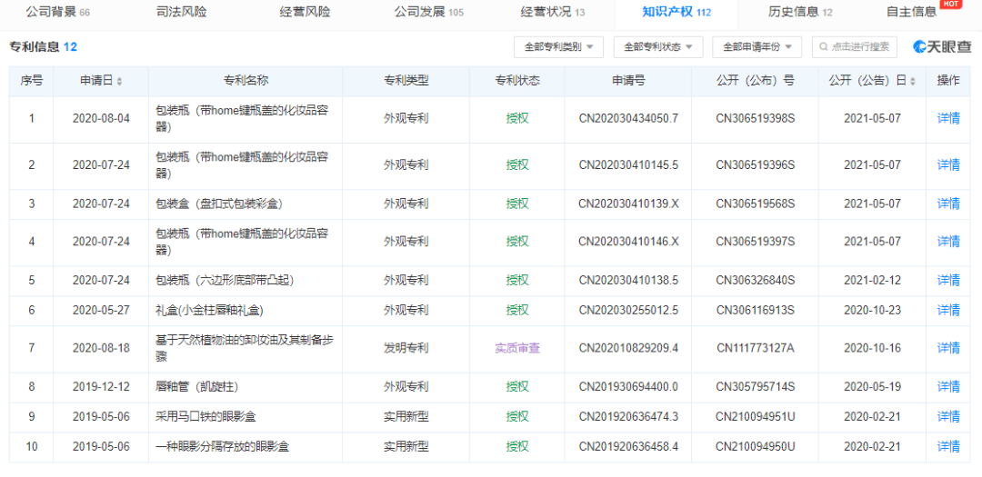
在天眼查发现 , 杭州兰匠化妆品有限公司已经申请12项专利 , 其中就包括带HOME键瓶盖的包装瓶、凯旋柱式的唇油管 , 以及基于天然植物油的卸妆油及其制备步骤 。
03. 轻营销下的陪伴式服务 就营销方面来看 , 相较于一般的新锐品牌 , LAN蘭兰营销占比较小 , 且营销重心放在头部和腰部红人的种草上 , 主要通过小红书和微博将产品内容传递给消费者 。
其小红书官方账号粉丝4万 , 获赞与收藏13.4万 。 此前LAN蘭品牌团队用极少的市场预算 , 从科学依据及认知输出的角度出发 , 在小红书上引发了“以油养肤”话题的高热度讨论 。 在上市后4个月时间里 ,时光凝萃精华油这款单品取得了销售额超过2000万元的成绩 , 一度进入天猫精华类目的前10榜单 , 获得李佳琦的推荐 。

文章图片
而其微博粉丝数7+万 , 近日在微博上开启#LAN的肌肤三餐#超话 , 并联合认养一头牛、缤兔、田园主义定制专属健康三餐 , 回应其提出的“肌肤三餐”理念 。
此外在线上平台 , LAN蘭提出了“陪伴式服务”理念 , 优化用户产品交付、使用以及社群运营体验等 , 弥补了线上渠道中品牌与消费者间沟通交流不足的缺陷 。 除了线上营销外 , LAN蘭还于去年携手WeWork走向线下 , 为潜在用户提供现场体验全线产品的服务 。
但在私域流量构建方面 , LAN蘭涉猎不多 , 仅创建了微信公众号并未建立社群,且公众号功能页面只有使用教程、旗舰店、产品体验三大选项 。
从营销这一单方面看 , 相较逐本、且初等竞品 , LAN蘭仅凭KOL的种草以及线上线下的互动活动 , 想要在营销方面实现爆并非容易 。 国货品牌有时缺的或许就是一个“露脸”的机会 。
我们说:从品牌心智、产品定位、研发实力、营销渠道等角度来看 , LAN蘭“以油养肤”的理念有依可寻 , 并非空寻来风 , 而且也符合当代消费者对安全温和护肤的需求 , 且成分有机安全 。 但营销渠道略显单薄 , 或将可以加大各个渠道的流量池储蓄 , 通过联名、代言等扩大品牌曝光度 。
经验总结扩展阅读
- 人群染发对身体有伤害吗?不妨直说:这几类人群可能不适合染发
- 品牌富婆凯莉·詹娜浑身肉色和红色相间,既光彩照人,又令人恐惧
- 雅漾 祛痘护肤品什么牌子的好 真正好用的祛痘品牌排行榜前十名
- 直发 为什么说直发是纯欲天花板?那些直发女神都有什么发型秘诀呢?
- 品牌新锐国货橘朵湖北首店落户银泰,新零售开启新国货潮流
- 短发 女士发型别乱来,选对目标再裁剪,都说很不赖
- 卷发女士发型别乱来,选对目标再裁剪,都说很不赖
- 缺点都说是美女但我不感觉美的一些女星
- 复合益生菌的作用,可以减肥哦
- 品牌功能性护肤迎来风口,DRDM品牌备受年轻消费者青睐
