
煤气化炉又称气化炉,是用来将煤进行气化的设备 。煤气化炉是一种通过高温高压使其气化而生成氧气的装置 。气化炉根据炉膛结构和气化原理的不同可分为两大类:固定床气化炉和流化床气化炉 。其中固定床气化炉又可分为两类:一类为气化炉型,另一半为普通炉型 。从煤气化炉型上看,固定床气化炉的工作原理是通过煤粉在气化炉内气化生成二氧化碳和水,经冷却后输送到气化炉尾部;流化床气化炉的工作原理是通过流化床气化产生大量煤气进行气化并同时利用高温高压将煤气中有害气体分离出来 。
1、气化炉原理
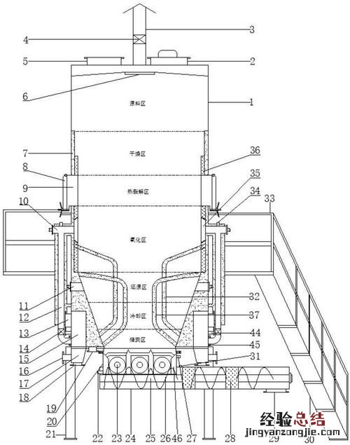
气化炉是指通过炉体的作用使被气化的燃料颗粒达到气化要求的装置 。常见的有四种类型:固定床(RTO)、流化床(VCC)、双相流化床(HRT WRO)以及其他类型 。以煤制气为例,固定床垫是由固定炉膛、旋转窑炉体及配套的炉膛控制系统等组成 。煤制气时,由于燃烧不完全而产生大量热量,由燃烧室喷出的燃气与之结合后进入主燃烧室,同时生成碳和一氧化碳等可燃气体 。再通过旋转窑炉体将气体转至旋转床层上形成一种具有一定流动能力、气体能与固体物料混合成固相材料的床层,使煤制气过程中得到充分燃烧并产生大量热量 。当炉内温度升高时,固相材料受热膨胀产生轴向推力与压力能使气态物质从主炉体上脱离而向下运动形成液态可燃物所产生的热量及相应损失也就随之减小 。
2、主要设备
炉体、水冷壁、燃烧室、排气口、灰斗、冷却水系统、控制系统等均由国外引进,煤种可根据生产工艺条件确定 。国外一般选用水冷壁空心管,在燃烧室底部安装旋风除尘器,并将炉体两侧用大口径阀门进行封闭;还可选用高压球阀,用来控制各系统风机的启停 。常用的水冷壁有水冷壁板和水冷壁管 。炉体在水冷壁板上安装有排气管和进水阀门,在进水口附近安装有喷嘴喷嘴,出水阀门在出水口附近还有一个阀门 。主要设备有开关柜、风门、灰箱、水冷壁空心管、进气管道、进、排气管道、冷却水系统、电加热器;还可采用耐高温耐火浇注料制成高温材料制成保温件;在气化炉上部还有一套煤气回收装置 。
3、使用范围
FDT常压气化炉:适用于各种煤化工及炼油项目,也可用于焦化、炼焦等 。根据客户对产品质量要求及市场前景判断,可根据客户不同要求及行业特点,设计出多种供选择及定制的成套工艺装置 。(4)优点: FDT常压气化炉:优点在于生产效率高,产气量大,气态水利用率高;缺点在于生产工艺复杂,消耗燃料多,运行费用高 。
4、性能特点
【气化炉和普通炉的区别】
(1)技术特点:对煤炭燃烧产生的有害气体进行有效净化,实现低成本、长周期稳定运行,以提高锅炉装置使用寿命,减少运行费用 。(2)结构特点:整体结构紧凑,便于维修,实现装置紧凑,简化工作流程 。(3)优点:适应性强,运行稳定,无二次污染,能耗低,设备占地面积小 。(4)结构特点:适用于各种工艺,如焦化、煤气净化、电力供应等 。
