“Oh my god , 买它买它!”看到这句话 , 你大概会想到李佳琦卖力推销 , 呼唤直播间网友下单的画面 。毫无疑问 , 这些口头禅已经成为李佳琦打造人设、激发粉丝购买欲的重要工具 。
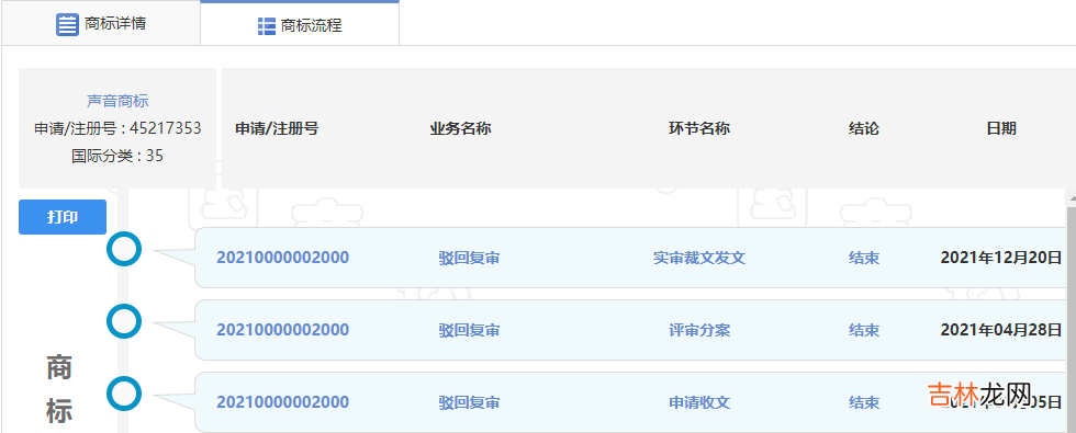
为了避免口头禅被某些卖家恶意使用 , 误导消费者 。李佳琦甚至为“OH MY GOD , 买它买它!”这句话申请注册了声音商标 , 不过近日被驳回了 。

文章插图
文章插图
此事意外引发网友争议 。有些评论表示:这种操作太滑稽 , 把声音注册成商标 , 这显然是不能允许的 。并表示 , “Oh my god , 买它买它!” , 本来是直播中的经常说的口语 , 假如真的注册通过了 , 难道别人还不能说这句话了?
声音商标不能注册吗?不 , 声音商标是可以注册的 , 它只是属于非传统的商标 , 与文字、数字等可以做为商标的要素一样 , 要求具备能够将一个企业的产品或服务与其他企业的产品或服务区别开来的基本功能 , 即必须具有显著特征 , 便于消费者识别 。
【声音可以作为商标申请注册吗? 声音可以作为商标申请注册对不对】一、“Oh my god , 买它买它!”的商标有显著性吗?什么叫商标显著性呢?就是商标保护的核心就是这个词在某个商品上只给你用 , 其他人不能用 , 所以你这个词不能太简单 , 也不能是商品本身 , 否则就是缺乏显著性 。举个例子 , 把苹果这个商标用在电脑产品上是有显著性的 , 因为苹果和电脑是两样东西 。
但如果把苹果这个商标用在苹果上 , 就是没有显著性的 , 因为如果给“苹果牌苹果”商标保护 , 别人卖的苹果就没法叫苹果了 , 这显然会很荒谬 。但《商标法》也规定 , 如果一个商标经过使用取得显著特征 , 并便于识别的 , 可以作为商标注册 , 所以苹果公司的iPhone商标才会在手机上获得注册 。
举个例子 , 2018年10月 , 北京市高级人民法院终审判决 , 认定腾讯公司申请的“嘀嘀嘀嘀嘀嘀”声音商标具有显著性 , 支持QQ提示音注册商标 。这也是我国商标法领域经司法判决的首例声音商标案件 。

文章插图
文章插图
然而李佳琦公司申请的这个声音商标 , 显著性比腾讯那个还弱 。腾讯的“滴滴滴滴滴滴”本身和即时通讯软件还没有关联 , 只是过于简单 , 所以商标局和商评委认为可能会导致消费者无法区分服务来源而产生显著性问题 , 而“买它买它”就是用来说服别人购买的 , 这个词用在第35类“替他人推销”等服务上 , 就属于直接表示服务的功能和用途 , 相当于前面说的“苹果牌苹果” , 完全没有显著性 。
二、注册成功后 , 他人不能发出相似声音?商标的使用是指以经营为目的 , 将商标用于商品、商品包装或者容器上;用于服务或者与服务有关的物件上;用于商品或者服务交易文书上;或者将商标用于商品或者服务的广告宣传、展览以及其他商业活动中 , 足以使相关公众认其为区别该商品或者服务来源的标志的实际使用 。
经验总结扩展阅读
- 耳机洗了后声音变小
- 家里有什么植物可以辟邪 辟邪植物有哪些
- 下斜线 可以用键盘打出来吗
- 删除微信聊天记录怎么恢复 微信聊天记录删除了怎么恢复可以这样操作
- 西瓜汁可以过夜吗
- 烤箱可以热饭菜吗
- 属鸡女佩戴什么可以辟邪 属鸡女佩戴什么能辟邪
- 有肾结晶又有肾结石怎么办 肾结石可以碎几次
- 为什么每天喝很多水还是有肾结石 肾结石可以直接碎石吗
- 支付宝小荷包不是管理员可以取钱吗 支付宝小荷包钱怎么提出来
